海星云 新上荷兰VPS,电信直连 1核/1GB/30GB SSD 37.5元/月起 附VPS测试

海星云新上荷兰阿姆斯特丹机房,该机房中国电信直连,自营机柜和硬件设备,企业级 SSD 硬盘,有点缺点是广播IP非原生IP。海星云是2016年成立的VPS服务商,属于九零创新实验室旗下品牌,从财务系统到VPS管理都是自主开发,采用KVM虚拟化,支持Windows或Linux,支持一键备份和恢复KVM数据。目前有日本东京机房、香港Cloudie机房、香港NTT机房、美国洛杉矶机房和新加坡机房。VPS方案分为流量型和带宽型两种流量计费方式,有SSD硬盘和普通硬盘两种存储方式。
优惠码:Holland75 - 荷兰机房75折终身优惠码,限量30个。
优惠码:HXKVM - 全场85折终身优惠码。
荷兰:1核CPU、2GB内存、30GB SSD硬盘、600GB/100Mbps或7Mpbs不限流量、Linux/Windows系统可选,原价50元,优惠后37.5元/月 点击购买
荷兰:2核CPU、2GB内存、40GB SSD硬盘、800GB/100Mbps或9Mpbs不限流量、Linux/Windows系统可选,原价60元,优惠后45元/月 点击购买
美国圣何塞高防:1核CPU、2GB内存、20GB SSD硬盘、600GB/100Mbps或7Mpbs不限流量、Linux/Windows系统可选,原价65元,优惠后55.25元/月 点击购买
美国洛杉矶:1核CPU、2GB内存、20GB SSD硬盘、600GB/100Mbps或7Mpbs不限流量、Linux/Windows系统可选,原价55元,优惠后46.75元/月 点击购买
日本大阪:1核CPU、2GB内存、20GB SSD硬盘、500GB/100Mbps或5Mpbs不限流量、Linux/Windows系统可选,原价65元,优惠后55.25元/月 点击购买
香港NTT:1核CPU、2GB内存、20GB SSD硬盘、300GB/5Mbps或2Mpbs不限流量、Linux/Windows系统可选,原价75元,优惠后63.75元/月 点击购买
日本东京:1核CPU、2GB内存、20GB SSD硬盘、500GB/100Mbps或5Mpbs不限流量、Linux/Windows系统可选,原价75元,优惠后63.75元/月 点击购买
新加坡:1核CPU、2GB内存、20GB SSD硬盘、500GB/100Mbps或5Mpbs不限流量、Linux/Windows系统可选,原价65元,优惠后55.25元/月 点击购买
香港Cloudie:1核CPU、2GB内存、20GB SSD硬盘、300GB/6Mbps或2Mpbs不限流量、Linux/Windows系统可选,原价60元,优惠后51元/月 点击购买
荷兰阿姆斯特丹机房VPS测试
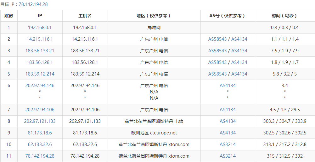
测试机配置:1核、2GB、30GB SSD硬盘、600GB流量型,测试IP:78.142.194.28 下载测试:http://78.142.194.28/100mb.test
本地测试环境:山东电信 100Mbps,上行20Mbps
1、路由跟踪情况:


回程测试:

2、speedtest测试

3、winscp sftp协议上传下载测试


winscp下载速度有点惨不忍睹,只有几十KB/s
4、IE浏览器下载测试


IE下载速度不理想
5、Chrome下载测试:


Chrome下载速度不错
6、硬盘IO测试:

测试IP:
荷兰阿姆斯特丹:78.142.194.105 (适合欧洲大带宽客户)
美国圣何塞高防:128.14.255.198 (中美三网直连,免费提供10G 高防 DDOS, CC清洗服务)
日本大阪软银: 202.5.222.222 (机房测试IP,日本大阪软银线路直连)
日本大阪机房测试IP:103.88.45.233
日本东京测试IP:103.27.186.3 (日本软银线路+BGP)
香港Cloudie测试IP:122.10.114.254 (CN2+BGP)
香港NTT测试IP:103.193.128.216 (双向CN2直连,推荐)
美国洛杉矶测试IP:167.88.177.58 (电信直连+BGP)
新加坡测试IP:185.239.225.240 (适合东南亚需求客户, pccw 线路)










